赌博网站-足球赌博网站
2019年12月3日星期二
赌博网站-足球赌博网站 关于印发
足球赌博网站 突发事件总体应急预案的通知
各街道办事处,各委、办、局、公司,各直属单位:
现将《足球赌博网站 突发事件总体应急预案》印发给你们,望遵照执行。
赌博网站-足球赌博网站
2021年8月23日
(此件主动公开)
1总则
1.1指导思想
以习近平新时代中国特色社会主义思想为指导,全面贯彻党的十九大和十九届二中、三中、四中、五中全会精神,深入学习贯彻习近平总书记关于应急管理重要论述,认真贯彻落实习近平总书记对天津工作“三个着力”重要要求和一系列重要指示批示精神,落实李鸿忠书记关于压实责任“四铁”要求,坚决守住安全生产底线,统筹发展和安全,切实维护人民群众生命财产安全和社会稳定,为开启全面建设社会主义现代化大都市新征程提供安全保障。
提升应急救援能力,规范应急救援行为,建立健全指挥顺畅、功能齐全、反应迅速、运转高效、协调有序、保障有力的应急管理体系,最大程度降低和减轻突发事件造成的损害,维护公共利益和社会安全稳定,促进全区经济社会又好又快发展。
根据《中华人民共和国突发事件应对法》《国家突发公共事件总体应急预案》《天津市实施<中华人民共和国突发事件应对法>办法》《天津市机构改革实施方案》《天津市突发事件总体应急预案》《足球赌博网站 机构改革方案》等法律、法规、文件的规定要求,结合本区实际,制定本预案。
坚持党对应急工作的领导。坚持党委领导、政府主导,完善党委领导下的应急管理行政领导负责制。各行业部门依法分类管理,应急议事协调机构发挥协调联动作用,拧紧“防”和“救”无缝对接的责任链条,建立统一领导、专常兼备、反应灵敏、上下联动的应急管理体制。
坚持人民至上、生命至上。把保护人民生命安全放在首位,牢固树立安全发展理念,强化底线思维,把满足人民群众日益增长的美好生活需要作为应急管理工作的出发点和落脚点,全面提高公共安全保障能力。
坚持属地管理、分级负责。加强系统治理、源头治理,做好常态下的风险防控、隐患排查、监测预警、应急力量建设等工作,优化非常态下信息报告、决策指挥、抢险救援、支援保障等机制,提高防灾、减灾、抗灾、救灾能力。严格落实企事业单位安全管理主体责任,坚决防范和遏制重特大事故。
坚持依法管理、社会参与。健全应急管理法规规章配套制度,推动全社会各领域、各单位切实履行防范化解重大安全风险、及时应对各类事故灾害的职责。加强应急救灾物资储备能力建设,建立各类应急救援力量联动机制,构建专兼结合的应急救援体系。鼓励公共安全科技研发和成果转化,强化突发事件应对科技支撑、人才支撑。
本预案适用于发生在足球赌博网站 行政区域内,须由本区负责处理及需协助处理的,或发生在其他地区,须由本区参与处理的各类突发事件。
本预案是足球赌博网站 突发事件应急预案体系的总体工作方案,用于指导由足球赌博网站 负责的突发事件风险防控、应急准备、监测预警、应急处置以及事后恢复重建等工作。
本预案所称突发事件是指突然发生,造成或可能造成严重社会危害,需要采取应急处置措施予以应对的自然灾害、事故灾难、公共卫生事件、社会安全事件。
(1)自然灾害。主要包括水旱灾害、气象灾害、地震灾害、地质灾害等。
(2)事故灾难。主要包括工矿商贸等企业的各类安全事故、交通运输事故、公共设施和设备事故、环境污染和生态破坏事件。
(3)公共卫生事件。主要包括传染病疫情、群体性不明原因疾病、食品和药品安全事件、急性中毒(食物、职业等中毒)事件,以及其他严重影响公众健康和生命安全的事件等。
(4)社会安全事件。主要包括恐怖袭击事件、刑事案件、群体性事件、涉外突发事件、民族宗教事件、舆情突发事件等。
各类突发事件按照其性质、造成损失、危害程度、可控性和影响范围,从高到低分为特别重大、重大、较大、一般四个等级,具体分级标准根据国家有关规定执行。
本区应急预案体系包括区人民政府及其部门、基层组织和单位制定的各类突发事件应急预案,以及为应急预案提供支撑的应急工作手册和事件行动方案。
区人民政府及其部门应急预案包括总体应急预案、专项应急预案、部门应急预案等。总体应急预案是应急预案体系的总纲,是本级人民政府组织应对突发事件的总体制度安排。专项应急预案是为应对涉及面广、情况复杂的某一类型突发事件,预先制定的涉及多个部门(单位)职责的工作方案。部门应急预案是有关部门为应对本部门(行业、领域)某一类型突发事件,或针对应急资源保障等涉及部门工作而预先制定的工作方案。区人民政府和有关部门根据实际,组织编制重要基础设施保护、重大活动保障和跨区域应急预案。
街道办事处根据区人民政府及其有关部门的应急预案,结合本地区实际情况制定基层应急预案。机关、企业、事业单位、社会组织和居委会等法人根据有关法律法规规章,针对面临的风险制定基层组织和单位应急预案。
应急工作手册是应急预案涉及的部门(单位)对自身承担职责任务进一步分解细化的工作安排,主要包括工作事项、内容、流程、责任单位、责任人员等。基层组织和单位根据实际情况,可单独编制应急工作手册,也可将有关内容融入预案,合并编制。
事件行动方案是参与应急救援行动的队伍和专家等人员根据执行任务需要,制定的具体行动方案,主要明确队伍编成、力量预置、行动路线、战勤保障、通信联络和实施步骤等。
赌博网站-足球赌博网站 在区委领导下,健全完善应急管理领导体制和突发事件应急指挥机制,组织本区突发事件的应对工作,设立足球赌博网站 突发事件应急委员会(以下简称区应急委)。区应急委主任由区长担任,常务副主任由常务副区长担任,副主任由区委政法委书记、区委宣传部部长、区人武部部长担任,委员由各位副区长、区政府办公室主任担任。
区应急委主要职责:统筹制定全区应急管理工作发展规划和政策措施,研究解决全区风险防控、监测预警、处置救援、资源保障、恢复重建等重大问题,统一领导、指挥协调全区一般突发事件防范应对工作。
区突发事件应急委员会下设区应急委办公室,区应急委办公室设在区应急局,区应急局局长任区应急委办公室主任,配备专职办事员。区应急委办公室承担区应急委日常工作,承办区应急委会议、文件,综合协调全区应急管理工作,指导各部门、各街道突发事件应对工作,督促有关方面贯彻落实市区两级党委、政府和应急委关于应急工作的部署要求。协助区应急委做好突发事件预防预警、应急处置、调查评估及善后工作,履行值守应急、信息传输、辅助决策等功能。
应急委员会成员单位包括区政府办公室、区委宣传部、区委统战部(区民宗委)、区委网信办、区人武部、区发展改革委、区商务局、区住房建设委、区城市管理委、区卫生健康委、区国资委、区信访办、区楼宇办、区人防办、区金融局、区市场监管局、北站办、意风区管委会、大悲院管委会、区人社局、区财政局、区生态环境局、区应急局、区民政局、区教育局、区文化和旅游局、区司法局、市规划资源局河北分局、公安河北分局、交管河北支队、足球赌博网站 消防救援支队、区融媒体中心、区红十字会、望海楼街道办事处、光复道街道办事处、王串场街道办事处、宁园街道办事处、新开河街道办事处、鸿顺里街道办事处、建昌道街道办事处、江都路街道办事处、月牙河街道办事处、铁东路街道办事处。
为有效应对各类突发事件,区政府设立防汛抗旱、气象灾害、抗震救灾、公共卫生、安全生产、交通运输等专项应急指挥部。各专项指挥部指挥长由相关区级分管领导担任。
专项应急指挥部主要职责:研究落实应对突发事件的政策措施和指导意见,组织编制、修订专项应急预案及应急保障预案,组织指挥本区一般及较大级别突发事件应急处置工作,负责所属应急救援队伍、应急物资装备的落实和管理工作,建立联席会议制度,开展专业应急训练、演练和宣传教育工作等。
区有关部门按照区应急委和各专项指挥机构要求,根据职责分工,负责相关类别突发事件应对工作,配备专兼职工作人员,承担相关专项指挥机构办公室职责。负责相关类别突发事件专项和部门应急预案的起草与实施,组织协调风险防控、应急准备、监测预警、事件处置等工作,为应对突发事件提供资源支持。
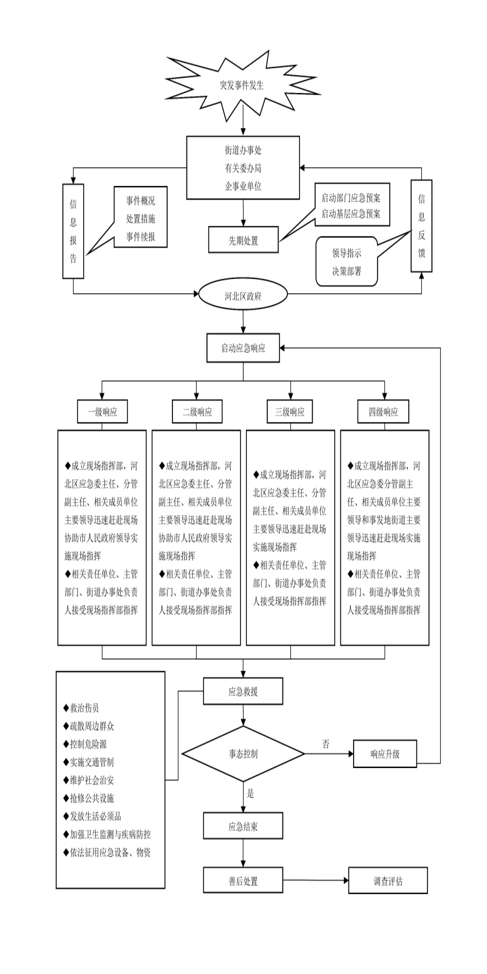
突发事件发生后,根据处置突发事件工作的需要,由处置事件主责部门牵头,在专项应急指挥部之下成立现场指挥部。由总指挥、副总指挥和各工作组组长组成,实行现场总指挥负责制。到现场参加应急处置的各方面应急力量应主动向现场指挥部报到、受领任务,接受现场指挥部的指挥调度,及时报告现场情况和处置进展。根据工作需要,现场指挥部可设立综合协调、抢险救援、治安维护、医疗卫生、信息舆情、救灾救助、事件调查、专家咨询等工作组。
现场指挥部工作职责是:对突发事件进行综合分析、快速研判,确定现场处置工作方案;全力组织伤员救治、人员疏散转移和群众安置工作,维护现场治安和交通秩序,防止事态进一步扩大;指挥调度现场应急救援力量、调配应急物资,协调有关单位开展抢险救援工作。随时向区应急委报告事件处置进展。一旦发现事态有进一步扩大趋势,有可能超出自身处置能力时,应立即报请专项应急指挥部或区应急委协调处置。
区人民政府和有关部门建立健全突发事件应对专家队伍,完善应急管理专家和专业人才信息库,聘请专家及第三方机构为本区应急体系建设规划、突发事件发生发展趋势研究、突发事件应对措施等提供意见和建议。根据需要,参与突发事件应急处置工作。
各街道办事处应健全应急管理机构,配备专(兼)职工作人员,具体组织实施街道各类突发事件的应对工作。主要职责是:排查分析评估辖区内的风险隐患,编制、修订街道应急预案,组建和健全街道应急救援队伍,组织指导、推动落实基层单位和社区居委会自救互救应急预案及社区自救互救应急队伍建设。负责行政区域内突发事件的预防与应对工作。
社区居委会应编制社区自救互救应急预案,组建社区自救互救应急救援队具体组织实施本社区各类突发事件的应对工作。居民委员会主任等群众自治组织负责人是应急管理工作责任人,协助街道及有关部门做好突发事件应对中的信息报告和自救互救工作。
企事业单位应成立应急管理机构,落实应急管理责任人。按有关部门要求建立健全监测预警机制,准确掌握本单位发生概率较高的突发事件,严格落实预防控制措施;负责编制应急预案、组建应急队伍、配备应急物资器材、组织应急训练演练等。专项应急指挥部牵头责任单位要给予技术指导,行业主管部门要进行统一管理。
区人民政府建立突发事件风险调查和评估制度。区人民政府及其有关部门要建立完善基层单位网格化风险防控体系,对各类风险点、危险源进行调查、辨识、评估、分级、登记,建立台账,定期开展检查,对排查出的风险隐患,要落实整改责任单位、责任人和时间表,制定重大风险点、危险源防控措施和工作方案,做好监控和应急准备工作。对容易引发突发事件的各类危险源、危险区域,及时汇总分析、预测风险隐患信息,对可能发生突发事件及次生、衍生事件和可能造成的影响进行综合分析。
区应急局、区生态环境局、公安足球赌博网站 分局等相关部门建立健全危险化学品经营、排污单位、社会安全事件等基础监测信息数据库,完善专业监测网络,配备监测设施设备和人员,划分监测区域,确定监测点和监测项目,对可能发生的突发事件进行监测。对于气象、大气、地震、地质、洪涝、干旱、传染病疫情、生物灾害、动物疫情等事件的监测工作与市局建立信息平台衔接端口获取监测信息。
区人民政府及有关部门建立健全突发事件预警制度,统筹运用各类传播渠道,及时发布预警信息。
可以预警的自然灾害、事故灾难和公共卫生事件的预警级别,按照突发事件紧急程度、发展态势和可能造成的危害程度,由高到低分为一级、二级、三级和四级,预警级别按照各专项应急预案确定,分别用红色、橙色、黄色和蓝色标示。
蓝色、黄色预警由区人民政府负责发布,并报市人民政府。橙色、红色预警报请市人民政府同意后发布。预警信息的发布和调整可通过广播、电视、报刊、通信、信息网络、手机、警报器、宣传车等方式进行。
发布黄色、蓝色预警信息后,各相关部门、单位根据预警级别和分级负责的原则,采取下列响应措施:
(1)及时收集、报告有关信息,公布接报信息的渠道及采取的应急措施,加强对突发事件发生、发展情况的监测和预报;
(2)组织有关部门和应急专家组,及时对突发事件信息进行综合分析评估,科学预测突发事件发生的可能性、影响范围和强度,确定突发事件响应的级别和采取的应对措施;
(3)向社会公众发布防灾逃险的提示性、建议性信息等;
(4)专项应急预案规定的其他措施。
发布红色、橙色预警信息后,在以上措施基础上,进一步采取以下响应措施:
(1)指挥人员、救援人员、值班人员等进入待命状态,做好后备队伍的动员工作;
(2)调集应急救援所需物资、设备、工具,做好应急设施和避难场所的准备工作;
(3)加强安全检查和隐患排查,确保交通、通信、供水、排水、供电、供气、供热等公共设施的正常运行;
(4)加强对重点单位、重要部位和重要基础设施的安全保卫,维护社会治安秩序;
(5)向社会公众发布防灾避险紧急措施的提示性、建议性信息;
(6)转移、疏散或撤离易受突发事件危害的人员并予以妥善安置,转移重要财产;
(7)关闭或限制使用易受突发事件危害的场所控制或限制容易导致危害扩大的公共场所的活动;
(8)法律、法规、规章规定的其他必要的防范性、保护性措施。
区人民政府组织有关部门密切关注突发事件进展情况,依据事态变化情况和专家会商建议,按照有关规定适时调整预警级别并及时发布。当确定突发事件不可能发生或危险已经解除时,立即宣布解除警报,终止预警期,解除已经采取的应对措施。
发生突发事件或发现重大风险隐患后,事发单位、基层网格员和有关单位要及时、客观、真实地向所在地街道和公安、消防救援等有关主管部门报告突发事件信息。情况紧急时,可直接向区政府值班室报告。区有关主管部门按照接报即报、随时续报的原则,应在接报后30分钟内电话报告、1小时内书面向市委、市政府报告、报送突发事件基本情况。其中,自然灾害类、安全生产类突发事件信息要同时抄送市应急局。对于死亡人数接近或者可能超过10人的突发事件,已经或者有可能引发舆情炒作、造成负面影响的突发事件,要第一时间向市委、市政府报告。
信息报告的内容包括报告单位、报告人姓名、信息来源、事发时间和地点、人员伤亡和失联情况、影响范围和危害程度等信息。
书面报送信息应在以上基础上,进一步完善环境影响、建筑倒塌损坏情况、交通通信电力等基础设施损毁情况、应急救援情况和其他措施,并及时续报突发事件动态情况、应急响应情况、预案执行情况、事件发展趋势、事件及其处置的新进展新情况等。
对性质严重、情况复杂、后续处置时间较长的突发事件,实行“日报告”制度。在重大会议、重要活动等特殊敏感时期,实行“零报告”制度。
对于市委、市政府要求核实的情况,电话反馈时间不得超过20分钟。市领导同志作出批示、提出要求后,区相关部门要及时报告落实情况。
事发单位应立即组织本单位相关人员和应急队伍全力营救、疏散、安置受到威胁的人员;控制危险源,标明危险区域,封锁危险场所,采取必要措施防止危害扩散;控制可疑传染源,积极救治病人,加强个人防护;向区人民政府及有关部门(单位)报告。对因本单位问题引发的或主体是本单位人员的社会安全事件,事发单位负责人要迅速到现场劝解疏导。
事发地居民委员会及其他组织要立即开展宣传动员,组织群众自救互救,协助维护社会秩序,落实政府关于突发事件应对的要求。
事发地街道办事处组织调动民兵、预备役人员、警务人员、保安员、医务人员、红十字救护员等基层应急救援力量赶赴现场,开展救护伤员、疏散群众、控制现场、抢险救援应急行动,并及时向区人民政府报告。
区人民政府接报后,迅速核实突发事件基本情况,对事态发展进行科学研判后,立即开展应急救援行动,组织专业应急队伍和社会应急力量参与抢险救援,并在规定时间内向市人民政府报告。
初判发生较大、一般突发事件,由区级层面负责应对。较大以上突发事件,区人民政府接受市人民政府统一指挥,按要求落实各项应急处置工作。如果事件本身较为敏感,或发生在重点地区或重大活动举办、重要会议召开等时期,适当提高响应级别,并视发展态势及时调整响应级别,避免响应不足或响应过度。
根据突发事件的危害程度、影响范围和处置能力,本区突发事件应急处置工作实行四级响应:
I级响应。足球赌博网站 发生特别重大突发事件的;突发事件涉及本区及相邻行政区域且呈现扩散态势,需市人民政府统一指挥应急救援行动的;市委、市政府决定启动涉及本区的I级应急响应的。赌博网站-足球赌博网站 决定启动I级应急响应,组织应急救援力量,做好先期处置,并执行上级政府的处置决定。
II级响应。足球赌博网站 发生重大突发事件的;突发事件涉及本区及相邻行政区域,超出区人民政府处置能力,需市人民政府组织力量处置的;市级层面决定启动涉及本区的II级应急响应的。赌博网站-足球赌博网站 决定启动II级应急响应,组织应急救援力量,做好先期处置,并执行上级政府的处置决定。
III级响应。在足球赌博网站 已经发生的或者将要发生的较大突发事件,足球赌博网站 应急委组织应急力量进行处置,必要时可请求市人民政府组织专业力量支援或协调处置。足球赌博网站 应急委组织专项应急指挥部立即作出响应,按照专业处置的原则,成立由部门主要负责同志参加的现场指挥部,并确定现场联系人和联系方式,指挥协调应急队伍开展救援行动。
IV级响应。在足球赌博网站 已经发生的或者将要发生的一般突发事件,足球赌博网站 应急委组织应急力量进行处置,必要时可请求市人民政府组织专业力量支援或协调处置。足球赌博网站 应急委组织专项应急指挥部立即作出响应,按照专业处置的原则,成立由部门主要负责同志参加的现场指挥部,并确定现场联系人和联系方式,指挥协调应急队伍开展救援行动。
4.4.1 指挥协调机制
(1)组织指挥。突发事件发生后,在区委、区政府的统一领导下,区应急委及相关专项指挥机构和部门开展应对工作。区级组织指挥机构设立后,各街道组织机构按照区级组织指挥机构要求做好处置和救援有关工作。各街道办事处要履行属地管理责任,主动开展辖区内突发事件应对工作。超出事发街道处置能力的,区委、区政府根据事发街道的请求或工作需要,将指挥权移交区专项指挥机构。必要时,成立区总指挥部,协调应急力量,调度应急资源,统一指挥处置工作。
(2)现场指挥。区人民政府设立现场指挥部后,各街道办事处的应急指挥机构应纳入现场指挥部,在现场指挥部的领导下开展突发事件应对工作。现场的各方面应急力量要在现场指挥部的统一指挥调度下开展工作,严格遵守交通管理、信息发布等工作要求,及时报告工作进展。根据工作需要,现场指挥部统一开设救援队伍集结点、物资收发点和新闻发布中心,组织完善相关后勤保障。
对于超出本区处置能力的突发事件,在天津市工作组到达现场后,现场指挥部要主动对接、汇报工作,接受业务指导并做好相关保障工作。
4.4.2 指挥协调措施
(1)启动I级、II级应急响应:
区委、区政府主要负责同志、有关区领导同志、区级专项应急指挥机构负责同志赶赴现场,成立区级现场指挥部,做好先期处置工作。待市级总指挥部成立后,移交指挥权,做好相关保障并按要求开展处置工作。
(2)启动III级应急响应:
①依照有关法律、法规和应急预案规定,区人民政府主要负责同志、有关区领导同志和相关区级专项应急指挥机构主要负责同志赴现场成立现场指挥部,指挥、组织、协调应急处置工作。
②成立现场指挥部(指挥部名称根据事件时间、类别确定),由区人民政府主要负责同志担任总指挥,有关区领导同志和相关区级专项应急指挥机构主要负责同志担任副总指挥,指挥部下设工作组由总指挥指定负责人员。
③召开指挥部工作会议,传达市委、市政府有关要求,听取各方面情况汇报,研究救援行动、营救受害人员、伤员救治、人员疏散、安置现场受到威胁的人员、控制危险源、标明危险区域、封锁危险场所、应急征用、中止大型活动、关闭旅游景点等重大决策。
④在相关市级专项应急指挥机构办公室指导协助下,开展抢险救援、伤员救治、失联人员搜救、疏散转移等应急处置工作。
⑤相关区级专项应急指挥机构办公室协调调度专项应急指挥机构掌握的应急救援队伍、应急救援装备和应急物资等资源,指导事发地应急指挥机构和有关成员单位开展应急处置工作。
⑥研究突发事件应急处置信息发布、新闻报道和舆论引导工作,第一时间发布权威信息,回应社会关切。
⑦市级领导同志或工作组到现场后,总指挥负责汇报有关情况,接受指导并做好保障工作。
⑧法律、法规规定以及区委、区政府决定的其他事项。
(3)启动IV级应急响应:
①按照区委、区政府要求,依照有关法律、法规和应急预案规定,相关区级专项应急指挥机构负责同志赴现场组织、指挥、协调应急处置工作。
②成立现场指挥部(指挥部名称根据事件时间、类别确定),原则是由相关区级专项应急指挥机构负责同志担任总指挥。根据实际情况,总指挥可指定副总指挥2-3名,并指定指挥部下设工作组的负责人员。
③相关区级专项应急指挥机构办公室协调调度专项应急指挥机构掌握的应急救援队伍、应急救援装备和应急物资等资源,指导事发地应急指挥机构和相关成员单位开展抢险救援、伤员救治、失联人员搜救、疏散转移等应急处置工作。
④及时向区委、区政府报告现场情况和处置进展。
⑤法律、法规规定以及区委、区政府决定的其他事项。
当自然灾害、事故灾难或公共卫生事件发生后,区政府、专项应急指挥部、事发地街道办事处根据实际情况采取下列一项或多项措施:
(1)组织营救受灾和被困人员,疏散、撤离并妥善安置受威胁人员,视情组织动员社会应急力量有序参与应急救援、人员救助等工作。
(2)迅速控制危险源、标明危险区域、封锁危险场所,划定警戒区,实行交通管制等控制措施。
(3)组织应急测绘和勘察队伍,利用无人机、雷达、卫星等手段快速获取现场影像,分析研判基础设施和居民住房损毁情况。
(4)组织做好抢险救援车辆等应急交通工具的优先安排、优先调度、优先放行,确保救援物资和人员及时、安全送达。
(5)组织救治伤员,治疗传染病人和疑似病例,隔离传染源,观察密切接触者,对易感人群采取应急接种、预防性服药和卫生防疫知识宣传。
(6)组织抢修被损坏的交通、通信、供水、排水、供电、供气、供热等公共设施,短时间难以恢复的,要实施临时过渡方案,保障社会生产生活基本需要。
(7)禁止或限制使用有关设备、设施和有关场所,中止人员密集的活动或可能导致危害扩大的生产经营活动以及采取其他保护措施。
(8)启用本级政府财政预备费和应急储备物资,必要时依法征用或要求有关企业生产供应其他物资、设备、设施、工具。
(9)向受灾人员提供食品、饮用水、衣被、燃料等生活必需品和临时住所,做好遇难人员家属安抚工作,妥善处置遇难人员遗体。
(10)组织开展救灾捐款活动,接收、管理、分配救灾捐赠款物,做好救灾款物信息公开工作。
(11)加强舆情监管,依法打击编造、传播有关突发事件事态发展或者应急处置工作的虚假信息的行为。
(12)加强公共卫生和环境监测,防止疾病、环境污染等次生、衍生事件发生。
(13)根据实际情况,组织公民参加应急救援和处置工作,要求具有特定专长的人员提供服务。
(14)根据事故发展情况,明确具体的物资储备、生产及加工的能力储备、生产工艺流程的技术储备。
(15)落实警力集结、布控方案、执勤方式和行动措施等。
(16)落实交通运输单位、交通管制和线路规划等保障措施。
(17)明确先期处置队伍、后续处置队伍、增援队伍的组织保障方案,以及保持应急能力的措施。
(18)法律、法规、规章规定的其他必要措施。
当社会安全事件发生后,按照区委、区政府的统一部署,针对事件的性质和特点,采取下列一项或多项应急措施:
(1)尽快了解和分析事件起因,有针对性开展法制宣传和说服教育,及对疏导、化解矛盾和冲突。
(2)维护现场治安秩序,对使用器械相互对抗或以暴力行为参与冲突的当事人实施强制隔离,妥善解决现场纠纷和争端,控制事态发展。
(3)对特定区域内的建筑物、交通工具、设备、设施以及燃料、燃气、电力、水的供应进行控制;
(4)加强通信管控和网络舆情监控,依法打击编造、传播不实信息的单位和个人。
(5)依法从严惩处囤积居奇、哄抬物价、制假售假等扰乱市场秩序的行为,稳定市场价格,维护市场秩序。
(6)依法从严惩处哄抢财物、干扰破坏应急处置工作等扰乱社会秩序的行为,维护社会治安。
(7)封锁有关场所、道路,查验现场人员的身份证件,限制有关公共场所内的活动。
(8)加强对党政机关、军事机关、广播电视台等易受冲击核心机关和单位的警卫,设置临时警戒线,加强对重点敏感人员、场所、部位的安全保护。
(9)严重危害社会治安秩序的事件发生后,立即依法出动警力,加大社会面检查、巡逻、控制力度,根据现场情况有针对性地采取强制性措施,尽快恢复社会秩序。
(10)法律、法规、规章等规定的其他必要措施。
突发事件的新闻报道与发布,由区委宣传部统筹负责。现场指挥部应成立宣传工作组,负责突发事件的现场采访管理、新闻发布组织,及时、准确、客观、全面发布突发事件信息,正确引导舆论导向。区委网信办做好舆情分析、引导工作,加强网络媒体和移动新媒体信息发布内容和舆情分析,及时管控有害和负面信息;会同公安河北分局,依法对散布谣言、恶意炒作等行为进行处理。特别重大、重大突发事件的信息发布工作由市委宣传部统一发布。
一般及较大突发事件由区人民政府或者区级专项应急指挥机构宣布应急结束,并通知相关方面解除应急措施,转入恢复与重建阶段。通过信息发布平台和新闻媒体等向社会发布应急结束信息。
宣布应急结束后,区委、区政府和街道办事处以及事发单位在市委、市政府的统一领导下,做好善后处置工作,及时制定恢复重建计划和救助、补偿、抚慰、抚恤、安置等方案,做好各项善后工作。
区应急管理、民政、卫生、教育、建设、司法等部门,在上级主管部门的指挥下,按照各自职责做好社会救助管理工作,配合有关部门做好灾情统计和救助款物的管理、调拨、发放工作。
区应急管理局、区商务局、区发改委、区民政局等相关部门在区人民政府的领导下做好受灾人员救助工作,及时组织救灾物资的调拨、分配和发放,保障受灾人员基本生活;会同红十字会、慈善协会、社会公益性团体和组织等共同做好捐赠资金和物资的接收、调拨、管理工作。
一般突发事件的调查评估工作,由区委、区政府组织相关部门及事发地街道成立事件调查组,对突发事件的发生原因、影响范围、受灾程度和损失情况、应对过程进行全面客观的调查、分析,总结经验教训,制定改进措施,形成调查评估报告,调查结果报区委、区政府。本区配合做好较大、重大、特别重大突发事件的调查评估相关工作。
各专项指挥部办公室于每年一季度组织对上年度突发事件应对工作进行全面评估,并向区委、区政府和区应急委报告,抄送区应急管理局。
较大、一般突发事件应急处置工作结束后,事发街道办事处会同有关部门制定恢复重建计划,并向区人民政府报告。区人民政府要及时组织发展改革、财政、公安、交管、城市管理等部门恢复社会秩序,尽快修复损毁或损坏的公共设施。超出本区恢复重建能力的,由区人民政府请求市人民政府提供必要的资金、物资和政策支持。
(1)综合应急救援队伍。依托区消防救援支队组建综合应急救援队伍,区政府根据经济社会及城市发展需要,健全多种形式消防队伍建设体系,完善人员招录保障机制,不断充实区综合应急救援队伍。加强调度指挥、实战演练、专业培训等制度落实,强化部门间的联勤联动联演联训机制,全面提升全区灾害事件应对处置能力。
(2)专业应急救援队伍。各相关职能部门牵头组建区专业应急救援队伍,并建立各类突发事件应急处置工作专家组,建立人员数据库。
(3)驻区部队、预备役部队和民兵应急救援力量由区人武部根据区政府赋予的任务调用。
(4)社会应急力量。政府鼓励社会救援力量参与应急处置工作。
(1)区应急委按照应急预案要求和有关规定,负责物资储备工作的推动、协调、检查、指导,建立区应急物资储备数据库。
(2)各专项应急指挥部按照专业需要,责成相关单位配备应急救援所需装备和器材。明确种类、数量、存放地点、保养维护负责人。
(3)区应急管理局组织编制足球赌博网站 救灾物资储备规划、品种目录,并根据需要下达动用指令。会同区发展改革委制定应急物资购置计划、储备和调拨方案,区发展改革委负责区级应急物资的日常管理及物资调运工作。
(4)区商务局会同相关部门掌握本区生活必需品市场的总需求及储备库存、经营库存、生产能力和销售、价格的变化情况,满足发生突发事件时人民群众的基本生活需要。
(1)区政府每年按照财政支出额的适当比例安排政府应急准备资金,作为公共财政应急储备金,列入政府年度财政预算。
(2)处置突发事件所需财政负担的经费,按照现行事权、财权划分原则,分级负担。
(3)区财政、审计和监察部门要对突发事件应急管理和处置各项资金的使用及效果进行监督。
(4)相关部门和单位要为应急救援人员购买人身意外伤害保险,减少应急救援人员的人身风险。
(1)区卫生健康委负责组建医疗卫生应急救援队伍和专家组,建立医疗救治网络,编制药品和医疗物资储备计划,掌握医疗资源分布和救治能力,开展培训演练,提高医疗救援和疾病控制水平。
(2)区红十字会招募红十字志愿者队伍并开展专业培训,协助开展突发事件辅助性救援工作。
(1)公安河北分局根据不同类别、级别突发事件,拟制维持治安秩序行动方案,明确警力集结、交通控制、执勤方式等相关措施。
(2)突发事件发生后,事发地街道和属地公安派出所要迅速在突发事件处置现场周围设立警戒区和警戒哨,做好现场控制、交通管制、疏散救助群众、维护公共秩序等工作。
(3)事发地的居民委员会和其他社会组织应当按照区政府的决定、命令、要求,进行宣传动员,组织群众开展自救互救,协助维护社会秩序。
区政府构建全区快速、安全、保密性强的突发事件应急指挥通信网络系统,形成互通互联的综合应急信息平台。保障指挥机关、事发现场指挥部及其重要场所的通讯。区委网信办、区人防办、区融媒体中心负责建立健全应急通信、应急广播电视保障体系。必要时可依法征用其他部门和社会通信设施,确保应急通信畅通。
区人防办依托现有系统和通信装备,建立人防应急指挥通信。
(1)区政府协调交通、铁路、公安等单位,保证紧急情况下应急交通工具的需要,确保需救助人员、应急处置人员、应急装备和物资得到优先安排、优先调度、优先放行。
(2)区城市管理委负责制定区属道路交通设施抢修方案,组织相关部门和专业队伍,尽快修复被毁坏的公路及有关设施,保证交通干线和重要路线的畅通。
(3)交管河北支队负责划定运输路线,实行道路交通管制,建立应急救援“绿色通道”。
(1)区应急局协调会同区城市管理委、区教育局、区体育局、公安河北分局、交管河北支队等部门,补充建设完善本区现有公园、绿地、广场、体育场馆、学校操场等场所应急避难必要设施。健全应急疏散管理办法和程序,确保在紧急情况下广大群众安全、有序转移或者疏散。
(2)突发事件发生后,区政府根据突发事件危险程度及事态发展情况,启用应急避难场所,并按照疏散预案组织群众进入应急避难场所避难。各专项指挥部办公室、各街道办事处及相关单位根据各自职责,提供必要的保障,确保避难场所人员的正常生活。
区城市管理委等相关部门负责协调燃气、自来水、电力、供热部门、通讯运营商随时做好突发事件区域通讯等公共设施的保障供应和抢险修复工作。
区市场监管局负责公共场所特种设备日常监督检查,隐患排查,做好突发事件的应急保障。
区司法局将突发事件应对法律法规和相关政策纳入公民普法的重要内容,指导有关部门及司法所广泛宣传普及应急管理法律、法规知识。按照“谁执法谁普法”原则,督促普法责任单位在执法和服务过程中切实履行社会普法责任。不断充实法律服务应急队伍,根据突发事件处置主责机构的要求,组织指导律师和区法律援助中心为突发事件处置和善后处置工作提供法律咨询援助。
7宣传教育、培训和预案管理
(1)区应急委、各街道办事处、各专项应急指挥部和相关职能部门要制定应对突发事件教育培训计划,要充分利用各类新闻媒体和信息发布平台,广泛宣传应急避险知识和自救互救技能,深入普及应急法律法规,增强公众的防范意识和责任意识。
(2)区各部门、区总工会、团区委、区妇联以及其他群众和社会团体、企事业单位、居民委员会负责组织本部门、本系统、本区域的人员进行应急法律法规和应急避险、自救互救等应急知识的宣传教育。
(3)区教育局要编制学校突发事件应急避险知识教育大纲,把应急避险知识列入学校教学计划,在学校普遍开展应急知识教育,提高学校及学生的安全防范意识和自救互救能力。
(1)区委组织部要将应急管理培训纳入干部教育培训整体规划,区委党校要将应急管理培训纳入干部培训内容;区应急管理局制定应急管理培训计划,对各级各类干部开展应急管理培训,提高干部应对突发事件的能力和水平。
(2)依托有条件的企业、院校、医院、园区及消防救援站,加强我区事故救援、医学救援等专业应急救援基地建设。
(3)团区委会同区应急局、区红十字会等相关部门和单位,加强应急志愿者的招募、组织和培训,使其掌握应急管理相关法律法规规定和突发事件应对基本技能,增强现场组织、自救互救及配合专业救援队伍开展工作的能力。
区应急委办公室会同有关部门、各街道针对区域突发事件情况和风险排查情况,组织制定应急预案,并按规定报本级党委、政府批准后实施,并抄送区应急局。各街道、各部门负责指导、检查、督促所属基层单位应急预案的编制工作。
总体应急预案由区应急局组织起草,按程序报请区人民政府常务会议审议后,以区人民政府名义印发实施,报送市人民政府备案,抄送市应急局。专项应急预案由承担专项应急机构办公室职责的部门(单位)起草,报请区人民政府批准,以区人民政府办公室名义印发实施,报送市相关主管部门备案,抄送区应急局。部门应急预案经部门有关会议审议,以部门名义印发,抄送区应急局和相关专项应急指挥机构办公室。基层组织和单位应急预案经主要负责人审定、签发,并按照有关法规要求报送备案。应急预案支撑性文件的审批程序由制订单位确定。
(3)应急演练
区各部门、各单位按照应急预案的规定,加强应急演练。专项应急预案、部门应急预案每2年至少进行l次应急演练,综合演练每年至少组织1次;上年度发生较大以上级别突发事件的,本年度至少进行l次同类型突发事件的应急演练。基层组织和单位根据实际情况,经常性地开展或者会同相邻的单位、社会组织等开展针对性强的应急预案演练。演练结束后要及时对演练情况进行总结评估,根据演练情况及时调整、修订应急预案。
应急预案编制单位建立评估制度,分析评价评估内容的针对性、实用性和可操作性,实现应急预案的动态优化和科学规范管理。
有下列情形之一的,应当及时修订应急预案:
①有关法律、法规、规章、标准、上位预集中的有关规定发生变化的。
②应急指挥机构及其职责发生重大调整的;
③面临的风险发生重大变化的;
④重要应急资源发生重大变化的;
⑤预案中的其他重要信息发生变化的;
⑥在应急处置和应急演练中发现问题需要作出重大调整的;
⑦应急预案编制单位认为应当修订的其他情况。
应急预案修订涉及组织指挥体系与职责、应急处置程序、主要处置措施、突发事件分级标准等重要内容的,修订工作参照预案编制、审批、备案程序组织进行。仅涉及其他内容的,修订程序可视情简化。
(5)本预案自印发之日起施行。
附件:1.足球赌博网站 突发事件分灾种响应部门
2.足球赌博网站 突发事件应急处置流程图
附件1
足球赌博网站 突发事件分灾种响应部门
一、自然灾害
|
事件类别 |
主要灾种 |
主要响应部门 |
|
水旱灾害 |
水灾 |
区应急局、区住房建设委、市排水管理处排水三所 |
|
旱灾 |
区应急局、区住房建设委、区城市管理委 | |
|
气象灾害 |
气象灾害(台风、暴雨、暴雪、寒潮、大风、沙尘暴、低温、高温、干旱、雷电、冰雹、霜冻、大雾、霾等) |
区应急局、区住房建设委、区教育局、区城市管理委、公安河北分局、交管河北支队、区生态环境局、市规划资源局河北分局 |
|
地震灾害 |
突发地震灾害事件 |
区应急局、区城市管理委、区住房建设委 |
|
地质灾害 |
突发地质灾害(地面塌陷、沉降等) |
区应急局、区城市管理委、区住房建设委、市规划资源局河北分局 |
|
林业有害生物灾害 |
区城市管理委 |
二、事故灾难
|
事件类别 |
主要灾种 |
主要响应部门 |
|
安全事故 |
工贸企业生产安全事故 |
区应急局 |
|
危险化学品生产安全事故 |
区应急局 | |
|
建设工程事故 |
区住房建设委 | |
|
火灾事故 |
河北消防救援支队 | |
|
交通运输事故 |
道路交通事故 |
交管河北支队 |
|
公共设施 和设备事故 |
供水突发事件 |
津滨威立雅水业有限公司河北营销分公司 |
|
排水突发事件 |
区住房建设委、市排水管理处排水三所 | |
|
大面积停电事件 |
区商务局、国网城东供电分公司 | |
|
燃气突发事件 |
区城市管理委 | |
|
供热事故 |
区城市管理委 | |
|
道路桥梁事故 |
区城市管理委 | |
|
通信事故 |
区委网信办 | |
|
自有人防工程事故 |
区人防办 | |
|
特种设备事故 |
区市场监管局 | |
|
核与辐射事故 |
核与辐射事故 |
区生态环境局 |
|
环境污染和生态破坏事件 |
突发环境事件 |
区生态环境局 |
|
重污染天气 |
区生态环境局 | |
|
水污染事件 |
区生态环境局 | |
|
网络与信息 安全事件 |
网络与信息安全事件 |
区委网信办、公安河北分局 |
三、公共卫生事件
|
事件类别 |
主要灾种 |
主要响应部门 |
|
传染病疫情、群体性不明原因疾病 |
重大传染病疫情(鼠疫、炭疽、霍乱、非典、流感、新冠肺炎等) |
区卫生健康委 |
|
传染病疫情、群体性不明原因疾病 |
群体性不明原因疾病 |
区卫生健康委 |
|
急性中毒(食物、职业等中毒)事件 |
区卫生健康委 | |
|
食品、药品和医疗器械等安全事件 |
食品安全事件 |
区市场监管局 |
|
药品、医疗器械和化妆品安全事件 |
区市场监管局 |
四、社会安全事件
|
事件类别 |
主要灾种 |
主要响应部门 |
|
舆情突发事件 |
舆情突发事件 |
区委宣传部、区委网信办 |
|
恐怖袭击事件 |
恐怖袭击事件 |
公安河北分局 |
|
经济安全事件 |
粮食市场供应安全事件 |
区发展改革委 |
|
生活必需品供给事件 |
区商务局 | |
|
金融突发事件 |
区金融局 | |
|
涉外突发事件 |
涉外突发事件 |
区政府办公室 |
|
群体性事件 |
上访、聚集等群体性事件 |
区委政法委、区信访办 |
|
民族宗教事件 |
民族宗教事件 |
区委统战部 |
附件2
足球赌博网站 突发事件应急处置流程图
